bis 19 L/Min.
Parker Model GS02 20
Parker - GS02 20 - Solenoid valve - spool type , 2-position 2-way - normally closed
Features
- High flow capacity.
- One piece cartridge housing ensures internal concentricity.
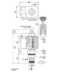
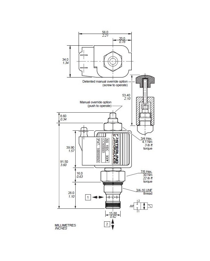
- Coil: Waterproof, hermetically sealed, requires no O’Rings;
Interchangeable with 04 and 06 series poppet valves;
Symmetrical coil can be reversed without affecting performance.
Operation
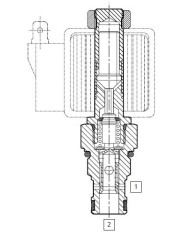
De-energized the spool land blocks the annular entry holes in the cage, preventing flow in either direction. The spring and collet maintain this position. Energized the armature pushes the spool against the spring force, opening a flow path through the spool, connecting both ports. Oil flows in either direction.
The coil is not included in delivery - die Magnetspule ist im Lieferumfang nicht enthalten.
Preise sind nur für registrierte Nutzer (B2B-Kunden) sichtbar.
Einloggen
kostenlos registrieren
Varianten
| Artikel-Nr. | Variante | Model Code | max. Betriebsdruck [bar] | max. Durchfluss [L/Min] | Dichtung | Hinweis |
|---|---|---|---|---|---|---|
| 308 028 030 | 1 | GS02 20 00N | 350 | 19 | Buna-N | Cartridge Only |