bis 80 L/Min.

Parker Model R04A4

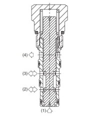
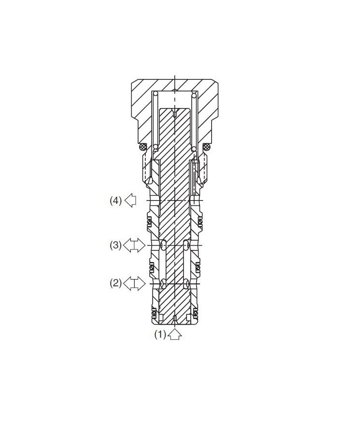
Parker - Sterling - R04A4 - Directional controls, diverter valve, normally open, 2-way with external pilot and vent

Features

  • High flow capacity
  • Two switching pressures
  • Sealed pilot option available
  • Hardened working parts for maximum durability
  • All external parts zinc plated


Switching Pressure: 10 bar

Varianten

Artikel-Nr. Variante Model Code max. Betriebsdruck [bar] max. Durchfluss [L/Min] Einschraubbohrung Dichtung
308 244 100 1 R04 A4-10 NN BL 420 80 C10-4 Buna-N

Download:

Datenblatt Parker R04A4

Parker R04A4 Directional Control Valves

Download (69.13KB)

Warenkorb

Es befinden sich keine weiteren Artikel in Ihrem Warenkorb

Anmelden

Shop

Meine Favoritenliste0